热点关注
污水处理用中央配水系统
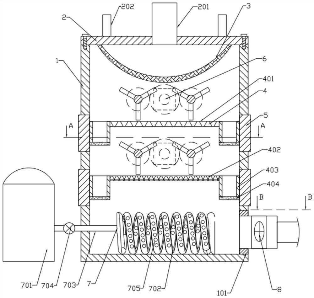
本发明公开了一种污水处理用中央配水装置,包括中央水箱,中央水箱的顶部可拆卸连接有顶盖,顶盖的底部安装有打捞网,打捞网的下方于中央水箱内安装有过滤装置,中央水箱上安装有两个延伸至其内部用于对过滤装置进行清理的拨动装置,中央水箱的左侧安装有延伸至其内部的消毒装置,中央水箱的右侧底部开设有出水口,出水口与分流装置相连。本发明不易堵塞,消毒彻底,分流方便。

权利要求书
1.一种污水处理用中央配水装置,包括中央水箱(1),其特征在于,所述中央水箱(1)的顶部可拆卸连接有顶盖(2),所述顶盖(2)的底部安装有打捞网(3),所述打捞网(3)的下方于中央水箱(1)内安装有过滤装置(4),所述中央水箱(1)上安装有两个延伸至其内部用于对过滤装置(4)进行清理的拨动装置(6),所述中央水箱(1)的左侧安装有延伸至其内部的消毒装置(7),所述中央水箱(1)的右侧底部开设有出水口(101),所述出水口(101)与分流装置(8)相连。
2.根据权利要求1所述的污水处理用中央配水装置,其特征在于,所述过滤装置(4)包括:第一过滤板(401)、第二过滤板(402)、垃圾盒(403)和渗水层(404),所述第一过滤板(401)位于第二过滤板(402)的上方,所述第一过滤板(401)和第二过滤板(402)的左右两端分别可拆卸连接有一个垃圾盒(403),所述垃圾盒(403)的底部设置有渗水层(404)。
3.根据权利要求2所述的污水处理用中央配水装置,其特征在于,所述第一过滤板(401)上过滤孔的直径大于第二过滤板(402)上过滤孔的直径。
4.根据权利要求2所述的污水处理用中央配水装置,其特征在于,四个所述垃圾盒(403)的端部于中央水箱(1)上分别可拆卸连接有一个挡板(5)。
5.根据权利要求2所述的污水处理用中央配水装置,其特征在于,所述第一过滤板(401)和第二过滤板(402)的上方分别安装有一个拨动装置(6),所述拨动装置(6)包括:机座(601)、伺服电机(602)、第一齿轮(603)、第二齿轮(604)、传动轴(605)和拨动叶片(606),所述机座(601)安装于中央水箱(1)的外侧,所述机座(601)上安装有伺服电机(602),所述伺服电机(602)的输出轴上安装有第一齿轮(603),所述第一齿轮(603)的左右两侧分别安装有一个与之转动配合的第二齿轮(604),两个所述第二齿轮(604)分别安装于一个传动轴(605)上,所述传动轴(605)通过轴承与中央水箱(1)转动连接,两个所述传动轴(605)上均焊接有多个拨动叶片(606)。
6.根据权利要求1所述的污水处理用中央配水装置,其特征在于,所述消毒装置(7)包括:高压气源(701)、螺旋管(702)、转接管(703)、单向阀(704)和出气孔(705),所述高压气源(701)安装于中央水箱(1)的左侧,所述螺旋管(702)安装于中央水箱(1)的内部底端,所述高压气源(701)通过转接管(703)与螺旋管(702)相连,所述转接管(703)上安装有单向阀(704),所述螺旋管(702)上开设有多个出气孔(705)。
7.根据权利要求1所述的污水处理用中央配水装置,其特征在于,所述分流装置(8)包括:T型管(801)、分流管(802)、第一阀门(803)和第二阀门(804),所述T型管(801)的一端安装于出水口(101)内,所述T型管(801)上安装有第一阀门(803),所述T型管(801)的右端安装有多个分流管(802),所述分流管(802)上安装有第二阀门(804)。
说明书
一种污水处理用中央配水装置
技术领域
本发明涉及污水处理技术领域,具体是一种污水处理用中央配水装置。
背景技术
污水处理:为使污水达到排入某一水体或再次使用的水质要求对其进行净化的过程。污水处理被广泛应用于建筑、农业、交通、能源、石化、环保、城市景观、医疗、餐饮等各个领域,也越来越多地走进寻常百姓的日常生活。因此,人们对污水处理设备的需求量越来越大。
通过中央配水装置对污水进行集中处理后再分流,可以提高过滤的效率,但是现有的中央配水装置过滤污水时容易堵塞,且对污水的消毒不够彻底,因此,针对以上现状,迫切需要开发一种不易堵塞,消毒彻底的污水处理用中央配水装置,以克服当前实际应用中的不足,满足当前的需求。
发明内容
本发明的目的在于提供一种污水处理用中央配水装置,以解决上述背景技术中提出的问题。
为实现上述目的,本发明提供如下技术方案:
一种污水处理用中央配水装置,包括中央水箱,所述中央水箱的顶部可拆卸连接有顶盖,所述顶盖的底部安装有打捞网,所述打捞网的下方于中央水箱内安装有过滤装置,所述中央水箱上安装有两个延伸至其内部用于对过滤装置进行清理的拨动装置,所述中央水箱的左侧安装有延伸至其内部的消毒装置,所述中央水箱的右侧底部开设有出水口,所述出水口与分流装置相连。
作为本发明进一步的方案:所述过滤装置包括:第一过滤板、第二过滤板、垃圾盒和渗水层,所述第一过滤板位于第二过滤板的上方,所述第一过滤板和第二过滤板的左右两端分别可拆卸连接有一个垃圾盒,所述垃圾盒的底部设置有渗水层。
作为本发明进一步的方案:所述第一过滤板上过滤孔的直径大于第二过滤板上过滤孔的直径。
作为本发明进一步的方案:四个所述垃圾盒的端部于中央水箱上分别可拆卸连接有一个挡板。
作为本发明进一步的方案:所述第一过滤板和第二过滤板的上方分别安装有一个拨动装置,所述拨动装置包括:机座、伺服电机、第一齿轮、第二齿轮、传动轴和拨动叶片,所述机座安装于中央水箱的外侧,所述机座上安装有伺服电机,所述伺服电机的输出轴上安装有第一齿轮,所述第一齿轮的左右两侧分别安装有一个与之转动配合的第二齿轮,两个所述第二齿轮分别安装于一个传动轴上,所述传动轴通过轴承与中央水箱转动连接,两个所述传动轴上均焊接有多个拨动叶片。
作为本发明进一步的方案:所述消毒装置包括:高压气源、螺旋管、转接管、单向阀和出气孔,所述高压气源安装于中央水箱的左侧,所述螺旋管安装于中央水箱的内部底端,所述高压气源通过转接管与螺旋管相连,所述转接管上安装有单向阀,所述螺旋管上开设有多个出气孔。
作为本发明进一步的方案:所述分流装置包括:T型管、分流管、第一阀门和第二阀门,所述T型管的一端安装于出水口内,所述T型管上安装有第一阀门,所述T型管的右端安装有多个分流管,所述分流管上安装有第二阀门。
与现有技术相比,本发明的有益效果是:该污水处理用中央配水装置,将污水由进水口加入到中央水箱内,通过打捞网过滤掉大型的垃圾,然后通过第一过滤板和第二过滤板对污水进行再次过滤,通过伺服电机转动带动第一齿轮转动,通过第一齿轮转动带动第二齿轮转动,通过第二齿轮转动带动传动轴和拨动叶片转动,通过拨动叶片将污水和垃圾向两边拨去,使污水中的垃圾落入到垃圾盒内,拆下挡板可将垃圾盒取出进行清理,有利于对垃圾进行清理,防止堵塞;高压气源通过转接管将高压气体输送至螺旋管内,高压气体通过多个出气孔排出,扩大了与污水的接触面积,有利于消毒更加彻底;消毒后,打开第一阀门,处理后的污水流向多个分流管,通过调节分流管上的第二阀门,可以调节水流的大小,有利于调节水的分流。综上所述,本发明不易堵塞,消毒彻底,分流方便。
- 2021-07-14久马高速生活污水设备操作培训
- 2021-07-14四川交建污水处理技术培训
- 2021-03-31污水药剂搅拌装置及其使用方法
- 2020-10-02集沉砂隔油压榨一体过滤设备
- 2020-09-29市政污水排污管铺设施工系统














电话:88888888
手机:88888888647
邮箱:88888888