热点关注
全封闭立式污水处理沉淀池
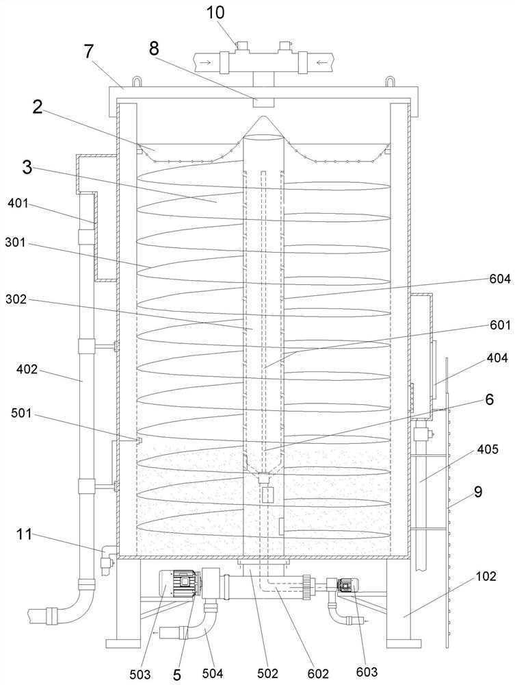
本发明涉及污水处理领域,具体说是一种全封闭立式污水处理沉淀池,包括壳体、匀水机构、螺旋沉淀单元、溢流机构、排污机构和絮凝加药机构,所述壳体的上方中部设置有穿过上盖的污水进管,所述壳体内侧壁内侧同心设置有格挡网;所述匀水机构可拆卸设置于污水进管的出口下方的壳体内;所述螺旋沉淀单元固定设置于壳体的格挡网内;所述壳体中上部外侧壁上固定设置有溢流机构;所述排污机构固定设置于壳体底部外侧;所述絮凝加药机构设置于壳体底部和所述中空支柱内,该污水处理沉淀池采用立式结构,占用空间较小,并且能够实现自动均匀加药、自动排泥,同时能够定期实现沉淀池自动清洗,能够有效保证沉淀池出水水质,显著提高污水沉淀效果。

权利要求书
1.一种全封闭立式污水处理沉淀池,其特征在于:包括
壳体,所述壳体顶部设置有可拆卸的上盖;所述壳体的上方中部设置有穿过上盖的污水进管,所述壳体内侧壁内侧同心设置有格挡网,所述格挡网和壳体内壁之间形成清水腔,所述壳体底部设置有壳体支腿;
匀水机构,所述匀水机构可拆卸设置于污水进管的出口下方的壳体内,所述匀水机构用于污水缓冲和分配;
螺旋沉淀单元,所述螺旋沉淀单元固定设置于壳体的格挡网内,且螺旋沉淀单元包括螺旋沉淀板和顶部密封的中空支柱,所述螺旋沉淀板螺旋缠绕固定设置于中空支柱的外围,螺旋沉淀板的外径与格挡网的内径匹配,所述螺旋沉淀单元底端延伸至壳体内腔底部,所述中空支柱的下部侧壁上开设有与其内腔连通的排污通孔;
溢流机构,所述壳体中上部外侧壁上固定设置有溢流机构,所述溢流机构下部与壳体内部的清水腔连通;
排污机构,所述排污机构固定设置于壳体底部外侧,且排污机构与中空支柱底部内腔连通,用于将中空支柱内的沉淀物抽出;以及
絮凝加药机构,所述絮凝加药机构设置于壳体底部和所述中空支柱内,用于向壳体内腔中注入絮凝剂,加速污水絮凝沉淀;
电控机构,所述电控机构控制排污机构和絮凝加药机构动作。
2.根据权利要求1所述的全封闭立式污水处理沉淀池,其特征在于:所述格挡网的上部为不透水的筒状隔板,下部为直径相同的筒状隔网。
3.根据权利要求1所述的全封闭立式污水处理沉淀池,其特征在于:所述匀水机构包括限位支撑块和匀水板,匀水板的外侧边缘通过限位支撑块支撑固定,所述限位支撑块固定设置于壳体或格挡网的内侧壁上,所述匀水板呈中间带锥状凸起的盆状板,且匀水板上均布设置有多个匀水孔,所述匀水板的锥状凸起位于污水进管出口的正下方,污水经锥状凸起均匀分流到匀水板内,并通过匀水孔均匀流下,实现污水匀水分流,避免冲击。
4.根据权利要求1所述的全封闭立式污水处理沉淀池,其特征在于:所述溢流机构包括溢流腔壳和溢流管道,所述溢流腔壳螺旋上升固定设置于壳体外侧,所述溢流腔壳底部的壳体侧壁上设置有带溢流滤网的溢流口,溢流口将壳体清水腔和溢流腔壳内部相互连通,所述溢流腔壳顶部连通设置溢流管道,将溢流出的清水排出。
5.根据权利要求4所述的全封闭立式污水处理沉淀池,其特征在于:所述溢流腔壳的底部外侧壁上设置有可开合的观察窗,观察窗的尺寸大于溢流口的尺寸;所述溢流腔壳底部还连通设置有带溢流电磁阀的溢流清污管,所述观察窗和溢流清污管外侧的壳体侧壁上设置有爬梯。
6.根据权利要求1所述的全封闭立式污水处理沉淀池,其特征在于:所述排污机构包括排污探头、排污管头、排污泵和排污管道,所述排污探头固定设置于壳体内格挡网的设定高度处,所述排污管头与中空支柱的底端密封连通,所述排污泵连通设置于排污管头一侧,且排污泵通过支架固定设置于壳体支腿上,排污管道与排污泵的出口固定且连通,用于沉淀物的排出。
7.根据权利要求6所述的全封闭立式污水处理沉淀池,其特征在于:壳体内的格挡网中上部固定设置有水质传感器,所述水质传感器数据反馈给电控机构。
8.根据权利要求1所述的全封闭立式污水处理沉淀池,其特征在于:所述絮凝加药机构包括加药支管、加药干管和加药泵,所述加药支管圆周均布设置于中空支柱内侧壁上,且加药支管上设置多个穿出中空支柱侧壁的加药口,所述加药支管的底部通过分流接头与加药干管连通,所述加药干管的进口端穿出中空支柱且与加药泵的出口连通,所述加药泵外接絮凝药剂仓。
9.根据权利要求1-8任一项所述的全封闭立式污水处理沉淀池,其特征在于:所述污水进管上端外接电磁三通阀,所述电磁三通阀的出口外接污水进管,电磁三通阀的两个进口分别外接污水源和清水源。
10.根据权利要求9所述的全封闭立式污水处理沉淀池,其特征在于:所述壳体底部侧壁上设置有清洗排污管,所述清洗排污管与壳体内清水腔连通,便于清水清洗时清洗水的排出。
说明书
一种全封闭立式污水处理沉淀池
技术领域
本发明涉及污水处理领域,具体说是一种全封闭立式污水处理沉淀池。
背景技术
污水处理为使污水达到排入某一水体或再次使用的水质要求对其进行净化的过程。污水处理被广泛应用于建筑、农业、交通、能源、石化、环保、城市景观、医疗、餐饮等各个领域,也越来越多地走进寻常百姓的日常生活。
污水处理设备中,沉淀池是一种较为常见的污水处理设施,沉淀池是应用沉淀作用去除水中悬浮物的一种构筑物,净化水质的设备。利用水的自然沉淀或混凝沉淀的作用来除去水中的悬浮物。现有的污水处理沉淀池在实际使用中暴露除了诸多缺点,比如,现有沉淀池大多为占用空间较大,造成污水处理厂可用面积的较大浪费;另外,正确投加絮凝剂是沉淀池运行管理的关键之一,目前沉淀池的絮凝剂加药大多为单点投放,加药不均匀,并且不能根据水质参数改变加药量,加药的灵活性较差,甚至时常出现断药情况的发生,因为即使短时期停止加药了也会导致出水水质的恶化;并且,及时排泥是沉淀池运行管理中极为重要的工作,污水处理中的沉淀池中所含污泥量较多,有绝大部分为有机物,如不及时排泥,就会产生厌氧发酵,致使污泥上浮,不仅破坏了沉淀池的正常工作,而且使出水质恶化,现有沉淀池排泥大多需要沉淀池停工后进行,并且大多为人工凭经验进行定时排泥,经常出现排泥不够及时,沉淀池自动化程度较低;另外,沉淀池长时间运行后,沉淀池的清洗工作变得非常困难,实际应用中,沉淀池的清洗工作几乎很少进行,进一步降低了沉淀池的出水水质,因此,如何克服上述存在的技术问题和缺陷成为重点需要解决的问题。
发明内容
本发明的发明目的在于克服背景技术中所描述的缺陷,从而实现一种全封闭立式污水处理沉淀池,该污水处理沉淀池采用立式结构,占用空间较小,并且能够实现自动均匀加药、自动排泥,同时能够定期实现沉淀池自动清洗,能够有效保证沉淀池出水水质,显著提高污水沉淀效果。
为实现上述发明目的,本发明的技术方案是:一种全封闭立式污水处理沉淀池,包括壳体、匀水机构、螺旋沉淀单元、溢流机构、排污机构和絮凝加药机构,所述壳体顶部设置有可拆卸的上盖;所述壳体的上方中部设置有穿过上盖的污水进管,所述壳体内侧壁内侧同心设置有格挡网,所述格挡网和壳体内壁之间形成清水腔,所述壳体底部设置有壳体支腿;所述匀水机构可拆卸设置于污水进管的出口下方的壳体内,所述匀水机构用于污水缓冲和分配;所述螺旋沉淀单元固定设置于壳体的格挡网内,且螺旋沉淀单元包括螺旋沉淀板和顶部密封的中空支柱,所述螺旋沉淀板螺旋缠绕固定设置于中空支柱的外围,螺旋沉淀板的外径与格挡网的内径匹配,所述螺旋沉淀单元底端延伸至壳体内腔底部,所述中空支柱的下部侧壁上开设有与其内腔连通的排污通孔;所述壳体中上部外侧壁上固定设置有溢流机构,所述溢流机构下部与壳体内部的清水腔连通;所述排污机构固定设置于壳体底部外侧,且排污机构与中空支柱底部内腔连通,用于将中空支柱内的沉淀物抽出;所述絮凝加药机构设置于壳体底部和所述中空支柱内,用于向壳体内腔中注入絮凝剂,加速污水絮凝沉淀,另外,控制部分设置常规的电控机构实现自动控制,排污机构和絮凝加药机构等的动作均受电控机构集中控制。
进步一地,所述格挡网的上部为不透水的筒状隔板,下部为直径相同的筒状隔网,上部为不透水的筒状隔板的目的在于壳体顶部刚刚进入的污水还未充分与絮凝剂混合,细小杂质容易穿过网状物,格挡网上部为筒状隔板,当污水向下沿着螺旋沉淀板沉淀一段后,水中细小杂质较少,格挡网下部为直径相同的筒状隔网,在不影响清水外渗的前提下,可以阻挡絮凝后的杂质。
进一步地,所述匀水机构包括限位支撑块和匀水板,匀水板的外侧边缘通过限位支撑块支撑固定,所述限位支撑块固定设置于壳体或格挡网的内侧壁上,所述匀水板呈中间带锥状凸起的盆状板,且匀水板上均布设置有多个匀水孔,所述匀水板的锥状凸起位于污水进管出口的正下方,污水经锥状凸起均匀分流到匀水板内,并通过匀水孔均匀流下,实现污水匀水分流,避免冲击。
进一步地,所述溢流机构包括溢流腔壳和溢流管道,所述溢流腔壳螺旋上升固定设置于壳体外侧,所述溢流腔壳底部的壳体侧壁上设置有带溢流滤网的溢流口,溢流口将壳体清水腔和溢流腔壳内部相互连通,所述溢流腔壳顶部连通设置溢流管道,将溢流出的清水排出。
进一步地,所述溢流腔壳的底部外侧壁上设置有可开合的观察窗,观察窗的尺寸大于溢流口的尺寸;所述溢流腔壳底部还连通设置有带溢流电磁阀的溢流清污管,所述观察窗和溢流清污管外侧的壳体侧壁上设置有爬梯。
进一步地,所述排污机构包括排污探头、排污管头、排污泵和排污管道,所述排污探头固定设置于壳体内格挡网的设定高度处,所述排污管头与中空支柱的底端密封连通,所述排污泵连通设置于排污管头一侧,且排污泵通过支架固定设置于壳体支腿上,排污管道与排污泵的出口固定且连通,用于沉淀物的排出。
进一步地,所述絮凝加药机构包括加药支管、加药干管和加药泵,所述加药支管圆周均布设置于中空支柱内侧壁上,且加药支管上设置多个穿出中空支柱侧壁的加药口,所述加药支管的底部通过分流接头与加药干管连通,所述加药干管的进口端穿出中空支柱且与加药泵的出口连通,所述加药泵外接絮凝药剂仓,另外,壳体内的格挡网中上部固定设置有水质传感器,水质传感器的信号反馈给电控机构,电控机构根据水质灵活调整絮凝加药机构的加药参数,比如加药时常或加药频率等。
进一步地,所述污水进管上端外接电磁三通阀,所述电磁三通阀的出口外接污水进管,电磁三通阀的两个进口分别外接污水源和清水源。
进一步地,所述壳体底部侧壁上设置有清洗排污管,所述清洗排污管与壳体内清水腔连通,便于清水清洗时清洗水的排出。
本发明的全封闭立式污水处理沉淀池的有益效果:
1.本发明的全封闭立式污水处理沉淀池,采用立式结构设计,占用空间较现有绝大多数的水平沉淀池大大减少,避免造成污水处理厂可用面积的较大浪费。
2.本发明的全封闭立式污水处理沉淀池,中空支柱内设置有絮凝加药机构,且絮凝加药机构设置有圆周均布的多个加药支管,每一个加药支管上沿其长度方向还设置有多个加药口,也就是每一层的螺旋沉淀板之间均设置有多个加药口,絮凝剂加药均匀一致,使污水絮凝效果更好,并且能根据水质参数改变加药参数,加药的灵活性较高,电控机构控制絮凝加药机构实现自动加药,避免出现断药情况的发生,有效保证了污水沉淀池出水水质。
3.本发明的全封闭立式污水处理沉淀池,当壳体内沉淀污物达到一定高度,电控系统控制排污机构自动排泥,避免了现有技术中排泥不及时,产生厌氧发酵,致使污泥上浮,破坏沉淀池的正常工作,而且使出水质恶化的现象发生,并且替代了人工排泥,排泥高效及时,沉淀池自动化程度显著提高。
4.本发明的全封闭立式污水处理沉淀池,在沉淀池长时间运行后,能够设定自动进行沉淀池清洗,克服了沉淀池长期不清洗造成的微生物发酵,影响出水水质的缺陷,同时,定期清洗沉淀池,可以避免沉淀池内水路或管道发生堵塞的情况发生,有效降低污水沉淀池的运行故障率。
- 2021-07-14久马高速生活污水设备操作培训
- 2021-07-14四川交建污水处理技术培训
- 2021-03-31污水药剂搅拌装置及其使用方法
- 2020-10-02集沉砂隔油压榨一体过滤设备
- 2020-09-29市政污水排污管铺设施工系统














电话:88888888
手机:88888888647
邮箱:88888888