热点关注
集沉砂隔油压榨一体过滤设备
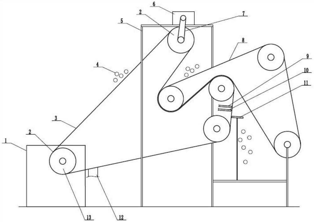
本实用新型公开了一种集沉砂隔油压榨一体的过滤设备,主要涉及过滤设备技术领域,包括进水口、出水口、支架、传动装置、过滤装置、泥水压榨分离装置和气水冲洗装置,传动装置、过滤装置、泥水压榨分离装置均设置在支架上,泥水压榨分离装置设置在过滤装置的后方,气水冲洗装置设置在过滤装置的背面。本实用新型设置在粗格栅后,取代传统细格栅及后续部分预处理工艺;中间设置过滤滤带进行过滤,并设置刮板刮渣,然后泥沙及油脂进入泥水分离系统;过滤滤带背面设置冲洗水管和气管,可以对滤布进行反向冲洗;后续不需要设置隔油或沉砂池,自带泥水分离及压榨系统,能够降低项目投资和占地,特别适用于用地紧张的中小型污水处理项目。

权利要求书
1.一种集沉砂隔油压榨一体的过滤设备,其特征在于:包括进水口、出水口、支架、传动装置、过滤装置、泥水压榨分离装置和气水冲洗装置,所述的传动装置、过滤装置、泥水压榨分离装置均设置在所述的支架上,所述的泥水压榨分离装置设置在所述的过滤装置的后方,所述的气水冲洗装置设置在所述的过滤装置的背面。
2.根据权利要求1所述的集沉砂隔油压榨一体的过滤设备,其特征在于:所述的传动装置采用电机和传动皮带结合传动。
3.根据权利要求1所述的集沉砂隔油压榨一体的过滤设备,其特征在于:所述的过滤装置包括过滤滤带、用于刮渣的刮板和多个滤带运行滚筒,所述的传动装置连接滤带运行滚筒,所述的刮板设置在过滤滤带的末端。
4.根据权利要求3所述的集沉砂隔油压榨一体的过滤设备,其特征在于:所述的泥水压榨分离装置包括挤压滤带和多个滤带运行滚筒。
5.根据权利要求1所述的集沉砂隔油压榨一体的过滤设备,其特征在于:所述的气水冲洗装置包括冲洗水管和气管。
6.根据权利要求5所述的集沉砂隔油压榨一体的过滤设备,其特征在于:所述的冲洗水管和气管设置在过滤滤带的背面且位于刮板的上方。
7.根据权利要求4所述的集沉砂隔油压榨一体的过滤设备,其特征在于:所述的挤压滤带呈S型设置。
8.根据权利要求4所述的集沉砂隔油压榨一体的过滤设备,其特征在于:所述的过滤滤带和挤压滤带均采用低滤目滤布。
说明书
一种集沉砂隔油压榨一体的过滤设备
技术领域
本实用新型涉及一种过滤设备,尤其是一种集沉砂隔油压榨一体的过滤设备。
背景技术
目前,常规格栅、水力筛等过滤设备,只是在过滤精度上有区别,但对于含油含沙的污水,后续仍需配设置沉砂池或隔油池,以及附属泥水分离及压榨设备。这种情况对于小水量的污水处理工程项目,容易造成项目预处理工艺占地面积和投资预算较大,资源浪费。
实用新型内容
本实用新型提供了一种结构简单的集沉砂隔油压榨一体的过滤设备,解决了现有技术中存在的占地面积和投资预算较大的问题。
本实用新型为解决上述技术问题所采用的技术方案是:包括进水口、出水口、支架、传动装置、过滤装置、泥水压榨分离装置和气水冲洗装置,传动装置、过滤装置、泥水压榨分离装置均设置在支架上,泥水压榨分离装置设置在过滤装置的后方,气水冲洗装置设置在过滤装置的背面。
优选的,传动装置采用电机和传动皮带结合传动。
优选的,过滤装置包括过滤滤带、用于刮渣的刮板和多个滤带运行滚筒,传动装置连接滤带运行滚筒,刮板设置在过滤滤带的末端。
优选的,泥水压榨分离装置包括挤压滤带和多个滤带运行滚筒。
优选的,气水冲洗装置包括冲洗水管和气管。
优选的,冲洗水管和气管设置在过滤滤带的背面且位于刮板的上方。
优选的,挤压滤带呈S型设置。
优选的,过滤滤带和挤压滤带均采用低滤目滤布。
本实用新型采用上述结构,具有以下的优点:整体设置在粗格栅后,取代传统细格栅及后续部分预处理工艺;中间设置过滤滤带进行过滤,并设置刮板刮渣,然后泥沙及油脂进入泥水分离系统(压榨挤水);过滤滤带背面设置冲洗水管和气管,可以对滤布进行反向冲洗;尤其对于含油含沙的污水,其后续不需要设置隔油或沉砂池,自带泥水分离及压榨系统,能够降低项目投资和占地,特别适用于用地紧张的中小型污水处理项目。
- 2021-07-14久马高速生活污水设备操作培训
- 2021-07-14四川交建污水处理技术培训
- 2021-03-31污水药剂搅拌装置及其使用方法
- 2020-10-02集沉砂隔油压榨一体过滤设备
- 2020-09-29市政污水排污管铺设施工系统














电话:88888888
手机:88888888647
邮箱:88888888