热点关注
炼油污水用厌氧水解酸化-竖流式好氧生化联合处
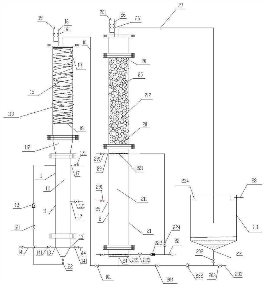
本发明公开了一种用于炼油污水的厌氧水解酸化‑竖流式好氧生化联合处理装置及其处理工艺,包括从左至右设置的厌氧水解酸化装置和竖流式好氧生化装置。厌氧水解酸化装置包括厌氧水解酸化装置主体反应器、第一污泥回流泵。竖流式好氧生化装置包括竖流式好氧生化装置主体反应器、供风管、第二污泥回流泵、二沉池。本发明提高了生化反应速率,简化了炼油污水处理工艺流程、占地面积小,易于设备维修维护,实现了污水处理装置化。本发明采用全密闭式结构,且还设置有第一排气管和第二排气管,便于VOC废气收集集中处理,实现了污水处理装置密闭化。

权利要求书
1.一种用于炼油污水的厌氧水解酸化-竖流式好氧生化联合处理装置,其特征在于,包括从左至右设置的厌氧水解酸化装置和竖流式好氧生化装置;
厌氧水解酸化装置包括厌氧水解酸化装置主体反应器、第一污泥回流泵,厌氧水解酸化装置主体反应器内从下至上依次设有污泥悬浮层、污泥分离层、填料层,厌氧水解酸化装置主体反应器的下部设有一组第一进水口,第一进水口与进水管相连通,第一污泥回流泵的一端与污泥悬浮层的上部相连通,另一端与厌氧水解酸化装置主体反应器的底部相连通,填料层内固定填充有生物载体,厌氧水解酸化装置主体反应器的顶部设有第一排气管,第一排水管的一端与填料层相连通,另一端与竖流式好氧生化装置相连通;
竖流式好氧生化装置包括竖流式好氧生化装置主体反应器、供风管、第二污泥回流泵、二沉池,二沉池设置在竖流式好氧生化装置主体反应器的右侧,竖流式好氧生化装置主体反应器内从下至上设有曝气层、悬浮填料流化层,竖流式好氧生化装置主体反应器的底部设有第二进水口,第二进水口与第一排水管相连通,竖流式好氧生化装置主体反应器上对应曝气层的上部和下部各设有一组与曝气层相连通的曝气管,供风管的一端与氧气补给设备相连通,另一端与二组曝气管相连通,悬浮填料流化层内填充有悬浮球生物载体,竖流式好氧生化装置主体反应器的顶部设有第二排气管,第二排水管的一端与竖流式好氧生化装置主体反应器的顶部相连通,另一端与二沉池的内部相连通,二沉池的底部设有第一排泥口,第二污泥回流泵的一端与第一排泥口相连通,另一端与第二进水口相连通,排泥管的一端与第一排泥口相连通,二沉池内的上部设有出水堰,第三排水管与出水堰的内部相连通。
2.根据权利要求1所述的用于炼油污水的厌氧水解酸化-竖流式好氧生化联合处理装置,其特征在于,一组第一进水口在厌氧水解酸化装置主体反应器的下部的同一平面圆周内均匀分布。
3.根据权利要求1所述的用于炼油污水的厌氧水解酸化-竖流式好氧生化联合处理装置,其特征在于,所述污泥分离层呈文丘里管状,厌氧水解酸化装置主体反应器的下部为倒锥体状;
厌氧水解酸化装置主体反应器为圆柱形,且其高径比为10:1~15:2;
竖流式好氧生化装置主体反应器为圆柱形,且其高径比为10:1~15:2。
4.根据权利要求1所述的用于炼油污水的厌氧水解酸化-竖流式好氧生化联合处理装置,其特征在于,所述厌氧水解酸化装置主体反应器上对应污泥悬浮层的上部和中部各设有一个第二排泥口,第二排泥口也作为第一采样口;
所述竖流式好氧生化装置主体反应器上对应曝气层的上部和中部各设有一个第三排泥口,第三排泥口也作为第二采样口。
5.根据权利要求1所述的用于炼油污水的厌氧水解酸化-竖流式好氧生化联合处理装置,其特征在于,所述生物载体为表面亲水改性的弹性立体生物载体,生物载体通过载体支架固定于填料层内,填料层中生物载体间距为10~30cm,厌氧水解酸化装置主体反应器的顶部设有第一压力表;
所述悬浮填料流化层的底部和顶部都设有矩形栅栏,用于防止悬浮球生物载体流出悬浮填料流化层,悬浮球生物载体的填充率为40%~75%,竖流式好氧生化装置主体反应器的顶部设有第二压力表。
6.根据权利要求1所述的用于炼油污水的厌氧水解酸化-竖流式好氧生化联合处理装置,其特征在于,曝气管的开孔方向与平面呈10°~45°,供风管与曝气层下部的曝气管之间设有流量计,所述氧气补给设备为风机。
7.根据权利要求1所述的用于炼油污水的厌氧水解酸化-竖流式好氧生化联合处理装置,其特征在于,所述用于炼油污水的厌氧水解酸化-竖流式好氧生化联合处理装置采用全密闭式结构。
8.根据权利要求4所述的用于炼油污水的厌氧水解酸化-竖流式好氧生化联合处理装置,其特征在于,进水管上设有第一阀门,第一污泥回流泵与厌氧水解酸化装置主体反应器的底部之间设有第二阀门和第三阀门,第一排气管上设有第四阀门,第一排水管上靠近第二进水口的那端设有第五阀门,流量计与曝气管之间设有第六阀门,供风管与曝气层上部的曝气管之间设有第七阀门,第二排气管上设有第八阀门,第一排泥口处设有第九阀门,排泥管上设有第十阀门,第二污泥回流泵与第二进水口之间设有第十一阀门,第二排泥口处设有第十二阀门,第三排泥口处设有第十三阀门。
9.一种权利要求1所述的用于炼油污水的厌氧水解酸化-竖流式好氧生化联合处理装置的处理工艺,其特征在于,包括以下步骤:
1)厌氧水解酸化处理:炼油污水从厌氧水解酸化装置主体反应器下部的进水管通过第一进水口进水,依次流经污泥悬浮层、污泥分离层、填料层,对炼油污水进行厌氧水解酸化处理,以降解生物处理难降解的有机物;
与此同时在厌氧水解酸化装置主体反应器内污泥悬浮层上部的污泥经第一污泥回流泵回流至厌氧水解酸化装置主体反应器内的底部与炼油污水充分混合,得到混合液,然后混合液在污泥分离层进行泥水分离,泥水分离后污泥分离层内的上层为上清液,上清液进入填料层,进一步降解胶体物质和可溶性大分子,同时拦截上清液中的微小悬浮物;
厌氧水解酸化装置主体反应器内产生的气体由第一排气管排出集中收集处理;
2)好氧生化处理:厌氧水解酸化装置主体反应器内填料层出来的炼油污水经第一排水管排入竖流式好氧生化装置主体反应器内,依次流经曝气层、悬浮填料流化层,再排入二沉池进行自然沉降泥水分离,与此同时氧气供给设备经供风管通过曝气层上部和下部的曝气管分别向曝气层、悬浮填料流化层充氧;
自然沉降泥水分离后二沉池底部的污泥通过第二污泥回流泵与厌氧水解酸化装置主体反应器内填料层出来的炼油污水汇合后经第二进水口回流进竖流式好氧生化装置主体反应器内的曝气层,自然沉降泥水分离后二沉池上部的清水通过出水堰经第三排水管排出;
在竖流式好氧生化装置主体反应器内产生的气体由第二排气管排出集中收集处理。
10.根据权利要求9所述的用于炼油污水的厌氧水解酸化-竖流式好氧生化联合处理装置的处理工艺,其特征在于,步骤1)中,在厌氧水解酸化装置主体反应器内污泥悬浮层上部的污泥经第一污泥回流泵回流至厌氧水解酸化装置主体反应器内的底部与炼油污水充分混合,污泥回流比为100%~500%;
步骤1)中,污泥悬浮层的污泥浓度为4 g/L~12 g/L;
步骤2)中,曝气层的污泥浓度为4 g/L~8 g/L,溶解氧为2 mg/L~5 mg/L;
步骤2)中,二沉池底部的污泥回流比为100%~180%。
说明书
用于炼油污水的厌氧水解酸化-竖流式好氧生化联合处理装置及其处理工艺
技术领域
本发明涉及污水处理设备技术领域,特别涉及一种适用于石油、化工、钢铁、煤气发生
站、机械加工等行业需生化处理的废水的用于炼油污水的厌氧水解酸化和竖流式好氧生化联
合处理装置及其处理工艺。
背景技术
随着国家对环保管控力度的加大,如何保证工业污水的稳定达标排放,同时高效、无二次污染的处理污水,成为中国污水处理行业的永恒主题。
目前,石油化工行业产生的炼油污水处理方法主要是生物法,生物法分为活性污泥法和生物膜法。活性污泥法主要有水解酸化法、氧化沟法、间歇式活性污泥法等。生物膜法主要有曝气生物滤池、接触氧化法、厌氧滤床反应器(AF)等。
生物法已存在一个多世纪,目前已经被广泛应用,但其处理设施依然是一种构筑物-曝气池。曝气池是应用好氧微生物降解污水中有机物的构筑物。池内提供好氧微生物所需要的氧量、污水与活性污泥充分混合时间及微生物生长繁殖的条件。池面一般为长方体、正方体及圆形等,导致其占地面积比较大。敞开式生化反应器会产生大量VOC废气,该气体不易收集,对周边环境造成一定污染。构筑物检修维护难,容易出现污水渗漏,进而污染周边土壤和地下水。
另外,为了达到国家环保要求排放标准,污水处理厂生化污水处理流程一般由4~5种工艺组合,对于一些排放标准严格地区,需组合的工艺更多,造成现有污水处理工艺流程长,处理工艺复杂。现有炼厂“接触氧化-水解酸化-氧化沟-二沉池”为核心的炼油污水处理工艺,存在工艺流程长、占地面积大、VOC难收集等问题。
发明内容
本发明所要解决的技术问题在于针对上述现有技术存在的不足,提供一种装置化操作、占地面积小、密闭化、工艺流程短、简易化、且将活性污泥法和生物膜法有效结合的用于炼油污水的厌氧水解酸化和竖流式好氧生化联合处理装置。
本发明还提供了一种上述用于炼油污水的厌氧水解酸化-竖流式好氧生化联合处理装置的处理工艺。
一种用于炼油污水的厌氧水解酸化-竖流式好氧生化联合处理装置,包括从左至右设置的厌氧水解酸化装置和竖流式好氧生化装置。
厌氧水解酸化装置包括厌氧水解酸化装置主体反应器、第一污泥回流泵。厌氧水解酸化装置主体反应器内从下至上依次设有污泥悬浮层、污泥分离层、填料层。厌氧水解酸化装置主体反应器的下部设有一组第一进水口,第一进水口与进水管相连通。第一污泥回流泵的一端与污泥悬浮层的上部相连通,另一端与厌氧水解酸化装置主体反应器的底部相连通。填料层内固定有生物载体。厌氧水解酸化装置主体反应器的顶部设有第一排气管。第一排水管的一端与填料层相连通,另一端与竖流式好氧生化装置相连通。
竖流式好氧生化装置包括竖流式好氧生化装置主体反应器、供风管、第二污泥回流泵、二沉池。二沉池设置在竖流式好氧生化装置主体反应器的右侧。竖流式好氧生化装置主体反应器内从下至上设有曝气层、悬浮填料流化层。竖流式好氧生化装置主体反应器的底部设有第二进水口,第二进水口与第一排水管相连通。竖流式好氧生化装置主体反应器上对应曝气层的上部和下部各设有一组与曝气层相连通的曝气管,供风管的一端与氧气补给设备相连通,另一端与二组曝气管相连通。
悬浮填料流化层内填充有悬浮球生物载体。竖流式好氧生化装置主体反应器的顶部设有第二排气管。第二排水管的一端与竖流式好氧生化装置主体反应器的顶部相连通,另一端与二沉池的内部相连通。二沉池的底部设有第一排泥口。第二污泥回流泵的一端与第一排泥口相连通,另一端与第二进水口相连通。排泥管的一端与第一排泥口相连通。二沉池内的上部设有出水堰,第三排水管的一端与出水堰的内部相连通。
在其中一个实施例中,一组第一进水口在厌氧水解酸化装置主体反应器的下部的同一平面圆周内均匀分布。
在其中一个实施例中,所述污泥分离层呈文丘里管状,厌氧水解酸化装置主体反应器的下部为倒锥体状。
厌氧水解酸化装置主体反应器为圆柱形,且其高径比为10:1~15:2。
竖流式好氧生化装置主体反应器为圆柱形,且其高径比为10:1~15:2。
在其中一个实施例中,所述厌氧水解酸化装置主体反应器上对应污泥悬浮层的上部和中部各设有一个第二排泥口,第二排泥口也作为第一采样口。
所述竖流式好氧生化装置主体反应器上对应曝气层的上部和中部各设有一个第三排泥口,第三排泥口也作为第二采样口。
在其中一个实施例中,所述生物载体为表面亲水改性的弹性立体生物载体,生物载体通过载体支架固定于填料层内,填料层中生物载体间距为10~30cm,厌氧水解酸化装置主体反应器的顶部设有第一压力表。
所述悬浮填料流化层的底部和顶部都设有矩形栅栏,用于防止悬浮球生物载体流出悬浮填料流化层。悬浮球生物载体通过矩形栅栏填充于悬浮填料流化层内,悬浮球生物载体的填充率为40%~75%,竖流式好氧生化装置主体反应器的顶部设有第二压力表。
在其中一个实施例中,曝气管的开孔方向与平面呈10~45°,供风管与曝气层下部的曝气管221之间设有流量计,所述氧气补给设备为风机。
在其中一个实施例中,所述用于炼油污水的厌氧水解酸化-竖流式好氧生化联合处理装置采用全密闭式结构。
在其中一个实施例中,进水管上设有第一阀门。第一污泥回流泵与厌氧水解酸化装置主体反应器的底部之间设有第二阀门和第三阀门。第一排气管上设有第四阀门。第一排水管上靠近第二进水口的那端设有第五阀门。流量计与曝气管之间设有第六阀门。供风管与曝气层上部的曝气管之间设有第七阀门。第二排气管上设有第八阀门。第一排泥口处设有第九阀门。排泥管上设有第十阀门。第二污泥回流泵与第二进水口之间设有第十一阀门。第二排泥口处设有第十二阀门。第三排泥口处设有第十三阀门。
一种上述用于炼油污水的厌氧水解酸化-竖流式好氧生化联合处理装置的处理工艺,包括以下步骤:
1)厌氧水解酸化处理:炼油污水从厌氧水解酸化装置主体反应器下部的进水管通过第一进水口进水,依次流经污泥悬浮层、污泥分离层、填料层,对炼油污水进行厌氧水解酸化处理,以降解生物处理难降解的有机物;
与此同时在厌氧水解酸化装置主体反应器内污泥悬浮层上部的污泥经第一污泥回流泵回流至厌氧水解酸化装置主体反应器内的底部与炼油污水充分混合,得到混合液。然后混合液在污泥分离层进行泥水分离,泥水分离后污泥分离层内的上层为上清液,上清液进入填料层,进一步降解胶体物质和可溶性大分子,同时拦截上清液中的微小悬浮物。
厌氧水解酸化装置主体反应器内产生的气体由第一排气管排出集中收集处理。
2)好氧生化处理:厌氧水解酸化装置主体反应器内填料层出来的炼油污水经第一排水管排入竖流式好氧生化装置主体反应器内,依次流经曝气层、悬浮填料流化层,再排入二沉池进行自然沉降泥水分离,与此同时氧气供给设备经供风管通过曝气层上部和下部的曝气管分别向曝气层、悬浮填料流化层充氧。
自然沉降泥水分离后二沉池底部的污泥通过第二污泥回流泵与厌氧水解酸化装置主体反应器内填料层出来的炼油污水汇合后经第二进水口回流进竖流式好氧生化装置主体反应器内的曝气层,自然沉降泥水分离后二沉池上部的清水通过出水堰经第三排水管排出。
在竖流式好氧生化装置主体反应器内产生的气体由第二排气管排出集中收集处理。
在其中一个实施例中,步骤1)中,在厌氧水解酸化装置主体反应器内污泥悬浮层上部的污泥经第一污泥回流泵回流至厌氧水解酸化装置主体反应器内的底部与炼油污水充分混合,污泥回流比为100%~500%。
步骤1)中,污泥悬浮层的污泥浓度为4 g/L~12 g/L。
步骤2)中,曝气层的污泥浓度为4 g/L~8 g/L,溶解氧为2 mg/L~5 mg/L。
步骤2)中,二沉池底部的污泥回流比为100%~180%。
本发明的优点及其有益效果:
1、本发明通过采用活性污泥法、生物膜法有效联合串联运行,提高了生化反应速率,简化了炼油污水处理工艺流程。
2、本发明通过将厌氧水解酸化装置、竖流式好氧生化装置设计为圆柱体状,有一定高径比,节约占地面积,易于设备维修维护,避免对周边土壤与地下水造成的污染,实现了污水处理装置化。
3、本发明采用全密闭式结构(即将厌氧水解酸化装置主体反应器、竖流式好氧生化装置主体反应器封顶),厌氧水解酸化装置主体反应器顶部设置第一排气管,竖流式好氧生化装置主体反应器顶部设置第二排气管,便于VOC废气收集集中处理,实现了污水处理装置密闭化。
- 2021-07-14久马高速生活污水设备操作培训
- 2021-07-14四川交建污水处理技术培训
- 2021-03-31污水药剂搅拌装置及其使用方法
- 2020-10-02集沉砂隔油压榨一体过滤设备
- 2020-09-29市政污水排污管铺设施工系统














电话:88888888
手机:88888888647
邮箱:88888888